|
Fachvortrag der Grotex GmbH & Co KG
4. Internationaler Kunststoff-Fenster-Kongress 2002
05. - 06. Februar 2002 |
|
|
Die Grotex GmbH & Co KG: |
| |
Anfang 2000 von Erwin Reineke und Roy Grote gegründet. |
| |
Basis der Neugründung war ein patentiertes Sprossensystem , dessen Entwicklung und Vertrieb im Vordergrund der betrieblichen Tätigkeit der Grotex GmbH & Co KG steht. |
| |
Firmensitz in zentraler Lage Deutschlands, in D-32602 Vlotho |
| |
Das Leistungsspektrum von Grotex konzentriert sich auf : Entwicklung, Produktion und weltweiter Vertrieb von Spezial - Kunststoffprofilen. |
| |
Stärken : Herstellung von Kunststoffsprossen für die Isolierglasindustrie, sowie von Spezial - Kunststoffprofilen für die verschiedensten Anwendungsbereiche der Industrie. |
|
|
|
Eine Kunststoff - Fenstersprosse die Maßstäbe setzt: |
| .........kennen Sie
schon die vom Bundesrat am 13.07.2001 verabschiedete Energieeinsparverordnung (EnEV 2000)?
Für viele Fensterhersteller die sich mit der Herstellung von Passiv - Fenstern beschäftigen,
ist sie kein Thema der Zukunft mehr, sondern schon jetzt Realität. Deshalb wurden in
Zusammenarbeit mit vielen bekannten Isolierglasherstellern neue wärmedämmende
Abstandshalter ( warme Kanten ) für Isolierglasscheiben entwickelt und bereits eingesetzt.
Wir von der Grotex GmbH & Co KG aus D-32602 Vlotho entwickelten ergänzend dazu eine
innovative Kunststoff - Fenstersprosse (DE 199 36 792 ), die Maßstäbe setzt. |
|
|
|
Von der Idee über die Entwicklung zum Produkt: |
| Erste Gedanken eine
Fenstersprosse aus Kunststoff herzustellen bestanden bereits 1986. Marktanalysen bei den
Sprossenkonfektionären ergaben, dass die Basis für ein gesundes Preis- Leistungsverhältnis
nicht erreichbar war. Ausschlaggebende Gründe dafür waren der günstige Basispreis von
Aluminium - Profilen und der relativ hohe Rohstoffpreis für technische Kunststoffe,
insbesondere Polycarbonat (PC). Versuche, die Sprosse aus Polyvinylchlorid (PVC) zu
fertigen, sind unserer Erkenntnis nach gescheitert. Gründe dafür waren die relativ
niedrige Wärmeformbeständigkeit, Foggingprobleme etc.
Erfahrungen in der Extrusion von Leuchtenprofilen aus Polymethymetharcrylat (PMMA) ließen
neue Gedanken über die Entwicklung einer Kunststoff - Sprosse reifen. Die wichtigsten
Parameter wie Rohstoffpreis für PMMA, Wärmeformbeständigkeit und UV - Beständigkeit
deuteten auf ein positives Ergebnis hin.
In Zusammenarbeit mit der Uni - GH Paderborn - Institut für Kunststofftechnik - wurde ein
thermischer Labortest entwickelt und durchgeführt.
In einer Musterscheibe ( 50 x 50 cm , SZR 12 ) wurde ein sprossenähnliches Profil aus PMMA
eingebaut und an allen kritischen Punkten mit Thermofühlern versehen. Versuchsaufbau siehe
Skizze. |
|
|
 |
|
| Auf die äußere Scheibe
(MP 1) wurde mittels eines 1.000 Watt Strahlers eine Temperatur von 100°C gebracht. An der
Außenfläche des Profils (MP 2) wurden 72°C und in der Hohlkammer (MP 3) des Profils wurden
68°C gemessen. Da die Wärmeformbeständigkeit von PMMA laut Hersteller bis 100°C reicht,
war man im thermischen Bereich auf der sicheren Seite. Das k.o. - Kriterium für PMMA lag
beim thermischen Längenausdehnungskoeffizienten (8 x 10 -5 1/K).
Bei entsprechender Wärmebelastung dehnte sich das Profil (Sprosse) über die Länge derart
aus, dass die Durchbiegung (Sebelwirkung) bis an die Scheibe reichte. Dieses Kriterium
ließ die erste Entwicklung scheitern.
Auf der Suche nach dem optimalen thermischen Längenausdehnungskoeffizienten bei
Thermoplasten würde man um modifiziertes Material nicht herumkommen.
Nach eingehender Recherche auf dem Rohstoffsektor wurde ein ABS - GF (Acrylnitryl -
Butadien - Styro mit Glasfasern) in Verbindung mit einer Co - Extrudierten PMMA - Schicht
(Polymethylmetharcrylat) in Betracht gezogen. Da sich ABS mit PMMA 100%-ig verschweißt,
konnte auf Haftvermittler (evtl. Foggingprobleme) verzichtet werden.
ABS: Amorphe Thermoplaste mit großen Variationsmöglichkeiten
Der thermische Längenausdehnungskoeffizient von modifizierten ABS reicht an die Werte des
in dieser Hinsicht bewährten Aluminiums heran (siehe Tabelle 1). |
|
|
 |
|
| Der obere
Gebrauchstemperaturbereich reicht bis 110°C (siehe Tabelle 2). Der Schwachpunkt beim ABS
ist die Styrol - Komponente , die unter UV - Belastung relativ schnell einen Gelbstich
bekommt. |
|
|
 |
|
PMMA : Amorpher,
transparenter Thermoplast auf Basis Polymethylmethacrylat
Da PMMA keine Eigenfarbe besitzt, lässt es sich in nahezu allen Farbnuancen einfärben.
Jahrzehntelange Bewitterungsergebnisse dokumentieren die Licht- und Farbbeständigkeit. Die
thermischen Werte (siehe Tabelle 1+2) liegen im sicheren Bereich.
Kritische Stufen in der Entwicklungsphase :
Nach Auswahl der Rohstoffe begann die Werkzeugentwicklung. Auf Wunsch eines
Entwicklungspartners aus dem Isolierglasbereich konzentrierte man sich auf die Version
26 x 8 mm, angelehnt an die bereits im Markt befindliche Alu - Sprosse. Mit der
Entwicklung des Extrusions - Werkzeuges wurde -aufgrund langjähriger Zusammenarbeit- die
Firma PPT in Lichtenfels beauftragt.
Die erste Abmusterung brachte dann erhebliche Stabilitätsprobleme an den Tag. Da man in
dieser frühen Phase darauf bedacht war, die im Markt vorhanden Zubehörteile weiter zu
verwenden, entschied man sich für den Ausbau der Wandstärken. Heraus kam jetzt eine
Sprosse in der Dimension 27 x 9 mm. |
|
|
 |
|
Ein weiteres Problem
war die Auswahl vom ABS, wo es doch erhebliche Unterschiede, -vor allem in der
Materialgüte- gab. Nach einigen nervenaufreibenden Tests entschied man sich für ein
Emulsions - ABS eines führenden Herstellers, dass in einer weiteren Compoundierstufe
entsprechend den Anforderungen Modifiziert (gefüllt / verstärkt ) wurde.
In weiteren Entwicklungsstufen wurden dann die Kammern für den Verbindungsstift, sowie die
Kammern für die ggf. erforderliche Armierung im Werkzeug eingebracht. Diese Schritte
erforderten dann auch die Entwicklung neuer Endstopfen für feste Abstandshalter und TPS.
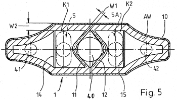
Am Anfang stand ein Profil, am Ende ein komplettes System :
Am Beginn der Entwicklungsphase stand die Erstellung einer Kunststoffsprosse unter
Beibehaltung der am Markt vorhandenen Verbindungsteile (Kreuzverbinder u. Endstopfen).
Die mittlere ovale Kammer (1) dient der Aufnahme eines Verbindungsstiftes (D 4 x 120 mm).
Die senkrechte Sprosse im konfektionierten Gitter wird zu diesem Zweck mit einer 4 mm
Bohrung versehnen. Somit übernimmt der Stift eine tragende und verbindende Funktion.
Gegenüber den herkömmlichen Verbindungssystemen bewirkt dieser Lösungsansatz nicht nur
eine Verbesserung der Durchbiegung, sondern auch ein nicht unerhebliches Einsparpotential
von zwei Kunststoffteilen pro Kreuzverbindung.
Foto Sprossenkreuz: |
|
|
 |
|
| Diese Lösung
erforderte dann auch die Entwicklung von neuen Endstopfen, die an die Innenkonturen der
Kunststoffsprosse angepasst werden mussten. War die Entwicklung des Endstopfens für feste
Abstandshalter noch relativ einfach, so ergaben sich bei der funktionellen Auslegung des
Endstopfens für die plastischen Abstandshalter (TPS) schon einige Probleme. |
|
|
 |
|
 |
|
| Bedingt durch diese
Entwicklungsschritte ist die Grotex GmbH & CO KG heute in der Lage, ein komplettes
Sprossensystem aus einer Hand zu liefern.
Grotex - Sprossen in Verbindung mit warmen Kanten (warm edge):
Der Bundesrat hat am 13.07.2001 der von der Bundesregierung bereits im März 2001
vorgelegten Energieeinsparverordnung (EnEV) mit geringfügigen Änderungen zugestimmt. Es
kann jetzt mit einem Inkrafttreten der neuen Verordnung noch in 2001, spätestens aber
Anfang 2002 gerechnet werden.
(Quelle: Presse-Info vom 13.07.2001 der zuständigen Bundesministerien)
Aufgrund dieser Tatsachen müssen sich nun auch die letzten Isolierglashersteller mit
Abstandshaltern der neuesten Generation befassen. Begriffe wie Edelstahl, TIS, Swisspacer,
TPS oder Thermix sind in aller Munde.
Aber welche Sprosse wird in der Zukunft eingesetzt ?
Es macht sicherlich keinen Sinn, den modernsten Abstandshalter zu verwenden und dazu die
gute alte Alu - Sprosse einzusetzen.
Hier greift der Lösungsansatz der Grotex - Sprosse, die die ideale Ergänzung zum
optimierten Randverbund ist. Hergestellt aus einem hochwertigen Kunststoff - Compound mit
einem Wärmeleitwert von 0,16 W/m*K gegenüber 230 W/m*K liegt das Verbesserungspotential
(Faktor 1437) doch eindeutig auf der Hand (siehe Tabelle 3). |
|
|
 |
|
| Das Grotex - Sprossensystem: Profil, Verbindungsstift u. Endstopfen:
Das Grotex - Sprossensystem bringt nicht nur eine wesentliche Vereinfachung der
Kreuzverbindung, sondern auch eine Teileeinsparung gegenüber der herkömmlichen
Kreuzverbindung, sowie eine optimale Aussteifung der Kreuzverbindung. Zwecks
zusätzlicher Sicherung kann das Sprossenkreuz noch verklebt oder per Ultraschall
verschweisst werden.
Des weiteren sind im Profil zwei Kammern für die Armierung besonders langer Teile, z.B.
für Balkontüren vorgesehen.
Die verwendeten Materialien (ABS + PMMA) gelten als umweltfreundliche Rohstoffe , sind
voll recycelbar und können daher für minderwertige Produkte in der Extrusion wieder
eingesetzt werden.
Die jüngste Öko - Bilanz für Fenster wurde 1997 von der Uni - Stuttgart vorgelegt. Darin
wurden folgende Energiekennzahlen verwendet: |
|
|
Aluminium incl. Pulverlack |
|
131,9 Mj / Kg Profil |
|
ABS / PMMA |
|
95,0 Mj / Kg Profil |
|
Somit ergibt
sich eine Energieeinsparung bei der Herstellung der Halbzeuge von ca. 28 %.
Mj = Mega Joule
(Quelle: Dr. Ernst Spindler , Vinnolit GmbH & Co KG D-84489 Burghausen.)
Resümee:
Mit dem Grotex - Sprossensystem steht dem Isolierglas - Lieferanten eine Sprosse zur
Verfügung, die den Anforderungen der modernen Abstandshalter (warme Kanten) voll gerecht
wird.
Die wesentlichen Leistungsmerkmale sind : |
|
| |
deutlich verbesserter U - Wert |
| |
absolute UV - Beständigkeit |
| |
durchgefärbtes Material, keine Schattenfuge in der Kreuzverbindung |
| |
neue Innenkontur spart Verbindungsteile |
| |
Temperaturbeständigkeit bis 105 °C |
| |
keine Tauwasserbildung |
|
|
|
Download des Fachvortrags (PDF, ca. 350k) |
|
 |
|
Hinweis:
Falls Sie den Acrobat Reader schon installiert haben sollten und Sie möchten die Datei herunterladen,
klicken Sie einfach mit der rechten Maustaste auf den jeweiligen Link. Ein Fenster öffnet sich und wählen Sie dann "Ziel speichern unter (MSI)" bzw. "Verknüpfung speichern unter...(Netscape)". |
|